本表根據《GB/T 706-2016 熱軋型鋼》整理,主要列出了不同型号工字鋼的幾何尺寸(如高度h、翼緣寬度b、腹闆厚度d等)、截面面積、理論重量以及慣性矩、截面模數等關鍵力學指标。該表可為工程設計中工字鋼的選型、強度與穩定性計算提供重要依據。随着型号增大,工字鋼的截面尺寸和承載能力逐步提高,同時自重也相應增加,适用于不同受力條件和結構需求的工程場景。

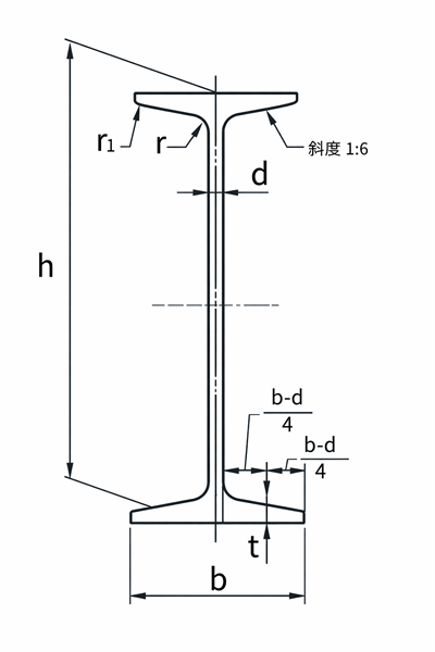
表1 工字鋼截面尺寸、面積、特性與理論重量
| 型号 | 截面尺寸/mm | 截面面積/cm2 | 理論 重量/ kg/m | 外表 面積/ m2/m | 慣性矩/cm4 | 慣性半徑/cm | 截面模數/cm3 | ||||||||
高度 h | 腿寬度 b | 腰厚度 d | 腿中間厚度 t | 内圓弧半徑 r | 腿 端圓弧半徑 r1 | Ix | Iy | ix | iy | Wx | Wy | ||||
| 10 | 100 | 68 | 4.5 | 7.6 | 6.5 | 3.3 | 14.33 | 11.3 | 0.432 | 245 | 33 | 4.14 | 1.52 | 49 | 9.72 |
| 12 | 120 | 74 | 5 | 8.4 | 7 | 3.5 | 17.8 | 14 | 0.493 | 436 | 46.9 | 4.95 | 1.62 | 72.7 | 12.7 |
| 12.6 | 126 | 74 | 5 | 8.4 | 7 | 3.5 | 18.1 | 14.2 | 0.505 | 488 | 46.9 | 5.2 | 1.61 | 77.5 | 12.7 |
| 14 | 140 | 80 | 5.5 | 9.1 | 7.5 | 3.8 | 21.5 | 16.9 | 0.553 | 712 | 64.4 | 5.76 | 1.73 | 102 | 16.1 |
| 16 | 160 | 88 | 6 | 9.9 | 8 | 4 | 26.11 | 20.5 | 0.621 | 1130 | 93.1 | 6.58 | 1.89 | 141 | 21.2 |
| 18 | 180 | 94 | 6.5 | 10.7 | 8.5 | 4.3 | 30.74 | 24.1 | 0.681 | 1660 | 122 | 7.36 | 2 | 185 | 26 |
| 20a | 200 | 100 | 7 | 11.4 | 9 | 4.5 | 35.55 | 27.9 | 0.742 | 2370 | 158 | 8.15 | 2.12 | 237 | 31.5 |
| 20b | 200 | 102 | 9 | 11.4 | 9 | 4.5 | 39.55 | 31.1 | 0.746 | 2500 | 169 | 7.96 | 2.06 | 250 | 33.1 |
| 22a | 220 | 110 | 7.5 | 12.3 | 9.5 | 4.8 | 42.1 | 33.1 | 0.817 | 3400 | 225 | 8.99 | 2.31 | 309 | 40.9 |
| 22b | 220 | 112 | 9.5 | 12.3 | 9.5 | 4.8 | 46.5 | 36.5 | 0.821 | 3570 | 239 | 8.78 | 2.27 | 325 | 42.7 |
| 24a | 240 | 116 | 8 | 13 | 10 | 5 | 47.71 | 37.5 | 0.878 | 4570 | 280 | 9.77 | 2.42 | 381 | 48.4 |
| 24b | 240 | 118 | 10 | 13 | 10 | 5 | 52.51 | 41.2 | 0.882 | 4800 | 297 | 9.57 | 2.38 | 400 | 50.4 |
| 25a | 250 | 116 | 8 | 13 | 10 | 5 | 48.51 | 38.1 | 0.898 | 5020 | 280 | 10.2 | 2.4 | 402 | 48.3 |
| 25b | 250 | 118 | 10 | 13 | 10 | 5 | 53.51 | 42 | 0.902 | 5280 | 309 | 9.94 | 2.4 | 423 | 52.4 |
| 27a | 270 | 122 | 8.5 | 13.7 | 10.5 | 5.3 | 54.52 | 42.8 | 0.958 | 6550 | 345 | 10.9 | 2.51 | 485 | 56.6 |
| 27b | 270 | 124 | 10.5 | 13.7 | 10.5 | 5.3 | 59.92 | 47 | 0.962 | 6870 | 366 | 10.7 | 2.47 | 509 | 58.9 |
| 28a | 280 | 122 | 8.5 | 13.7 | 10.5 | 5.3 | 55.37 | 43.5 | 0.978 | 7110 | 345 | 11.3 | 2.5 | 508 | 56.6 |
| 28b | 280 | 124 | 10.5 | 13.7 | 10.5 | 5.3 | 60.97 | 47.9 | 0.982 | 7480 | 379 | 11.1 | 2.49 | 534 | 61.2 |
| 30a | 300 | 126 | 9 | 14.4 | 11 | 5.5 | 61.22 | 48.1 | 1.031 | 8950 | 400 | 12.1 | 2.55 | 597 | 63.5 |
| 30b | 300 | 128 | 11 | 14.4 | 11 | 5.5 | 67.22 | 52.8 | 1.035 | 9400 | 422 | 11.8 | 2.5 | 627 | 65.9 |
| 30c | 300 | 130 | 13 | 14.4 | 11 | 5.5 | 73.22 | 57.5 | 1.039 | 9850 | 445 | 11.6 | 2.46 | 657 | 68.5 |
| 32a | 320 | 130 | 9.5 | 15 | 11.5 | 5.8 | 67.12 | 52.7 | 1.084 | 11100 | 460 | 12.8 | 2.62 | 692 | 70.8 |
| 32b | 320 | 132 | 11.5 | 15 | 11.5 | 5.8 | 73.52 | 57.7 | 1.088 | 11600 | 502 | 12.6 | 2.61 | 726 | 76 |
| 32c | 320 | 134 | 13.5 | 15 | 11.5 | 5.8 | 79.92 | 62.7 | 1.092 | 12200 | 544 | 12.3 | 2.61 | 760 | 81.2 |
| 36a | 360 | 136 | 10 | 15.8 | 12 | 6 | 76.44 | 60 | 1.185 | 15800 | 552 | 14.4 | 2.69 | 875 | 81.2 |
| 36b | 360 | 138 | 12 | 15.8 | 12 | 6 | 83.64 | 65.7 | 1.189 | 16500 | 582 | 14.1 | 2.64 | 919 | 84.3 |
| 36c | 360 | 140 | 14 | 15.8 | 12 | 6 | 90.84 | 71.3 | 1.193 | 17300 | 612 | 13.8 | 2.6 | 962 | 87.4 |
| 40a | 400 | 142 | 10.5 | 16.5 | 12.5 | 6.3 | 86.07 | 67.6 | 1.285 | 21700 | 660 | 15.9 | 2.77 | 1090 | 93.2 |
| 40b | 400 | 144 | 12.5 | 16.5 | 12.5 | 6.3 | 94.07 | 73.8 | 1.289 | 22800 | 692 | 15.6 | 2.71 | 1140 | 96.2 |
| 40c | 400 | 146 | 14.5 | 16.5 | 12.5 | 6.3 | 102.1 | 80.1 | 1.293 | 23900 | 727 | 15.2 | 2.65 | 1190 | 99.6 |
| 45a | 450 | 150 | 11.5 | 18 | 13.5 | 6.8 | 102.4 | 80.4 | 1.411. | 32200 | 855 | 17.7 | 2.89 | 1430 | 114 |
| 45b | 450 | 132 | 13.5 | 18 | 13.5 | 6.8 | 111.4 | 87.4 | 1.415 | 33800 | 894 | 17.4 | 2.84 | 1500 | 118 |
| 45c | 450 | 154 | 15.5 | 18 | 13.5 | 6.8 | 120.4 | 94.5 | 1.419 | 35300 | 938 | 17.1 | 2.79 | 1570 | 122 |
| 50a | 500 | 138 | 12 | 20 | 14 | 7 | 119.2 | 93.6 | 1.539 | 46500 | 1120 | 19.7 | 3.07 | 1860 | 142 |
| 50b | 500 | 160 | 14 | 20 | 14 | 7 | 129.2 | 101 | 1.343 | 48600 | I 170 | 19.4 | 3.01 | 1940 | 146 |
| 50c | 500 | 162 | 16 | 20 | 14 | 7 | 139.2 | 109 | 1.547 | 50600 | 1220 | 19 | 2.96 | 2080 | 151 |
| 55a | 550 | 166 | 12.5 | 21 | 14.5 | 7.3 | 134.1 | 105 | 1.667 | 62900 | 1370 | 21.6 | 3.19 | 2290 | 164 |
| 55b | 550 | 168 | 14.5 | 21 | 14.5 | 7.3 | 145.1 | 114 | 1.671 | 65600 | 1420 | 21.2 | 3.14 | 2390 | 170 |
| 55c | 550 | 170 | 16.5 | 21 | 14.5 | 7.3 | 156.1 | 123 | 1.675 | 68400 | 1480 | 20.9 | 3.08 | 2490 | 175 |
| 56a | 560 | 166 | 12.5 | 21 | 14.5 | 7.3 | 135.4 | 106 | 1.687 | 65600 | 1370 | 22 | 3,18 | 2340 | 165 |
| 56b | 560 | 168 | 14.5 | 21 | 14.5 | 7.3 | 146.6 | 115 | 1.691 | 68500 | 1490 | 21.6 | 3.16 | 2450 | 174 |
| 56c | 560 | 170 | 16.5 | 21 | 14.5 | 7.3 | 157.8 | 124 | 1.695 | 71400 | 1560 | 21.3 | 3.16 | 2550 | 183 |
| 63a | 630 | 176 | 13 | 22 | 15 | 7.5 | 154.6 | 121 | 1.862 | 93900 | 1700 | 24.5 | 3.31. | 2980 | 193 |
| 63b | 630 | 178 | 15 | 22 | 15 | 7.5 | 167.2 | 131 | 1.866 | 98100 | 1810 | 24.2 | 3.29 | 3160 | 204 |
| 63c | 630 | 180 | 17 | 22 | 15 | 7.5 | 179.8 | 141 | 1.87 | 102000 | 1920 | 23.8 | 3.27 | 3300 | 214 |







